实探大乘汽车现状,生产基地“两分天下”,一方因规模嫌小,另一方因进度嫌慢
我们来梳理一下关于大乘汽车生产基地被“瓜分”的传闻及其背后的情况。
您提到的“实探大乘汽车现状:生产基地被两家车企‘瓜分’,一家‘嫌小’,一家‘嫌慢’”这个说法,是对近期围绕大乘汽车生产基地使用情况的一些讨论和猜测的总结。我们来逐一分析:
"1. 大乘汽车的生产基地现状:"
"主要生产基地:" 大乘汽车目前最主要、规模最大的生产基地是位于"江西南昌的洪都汽车制造厂(HDM)"。这个工厂是当年与长安汽车合资成立“长安乘用车”时一同建设的关键设施,也是大乘品牌旗下多款车型(如CX-30、CX-50、马自达3昂克赛拉等)的诞生地。
"历史背景:" 2021年,上汽集团通过收购长安汽车持有的长安乘用车50%股权,成为大乘汽车新的控股股东。这意味着上汽集团理论上拥有了洪都工厂的全部权益。
"实际使用情况:" 近年来,由于市场原因、战略调整等多种因素,大乘汽车的产品线调整和销售下滑比较明显,导致其产能利用率不高。洪都工厂的部分产能可能被用于生产上汽集团旗下其他品牌(如名爵、五菱等)的产品,或者部分产能闲置。
"2. “被两家车企‘瓜分’”的说法:"
这个说法主要是指洪
相关内容:
每经记者:李星 每经编辑:裴健如
走在比亚迪位于江西抚州的新能源汽车产业园内,随处可见的除了正在忙碌的厂房施工工人,还有往来的身穿印有“BYD”字样蓝色工服的车间工人。

图片来源:每经记者 李星 摄
“比亚迪已完全接手大乘汽车抚州生产基地,开始出车(即生产车辆)了。”10月13日,一位不愿透露姓名的知情人士向《每日经济新闻》记者表示,但大乘汽车的资质过户审批还没有被相关主管部门批复,仍在走程序。
伴随火星石科技有限公司(以下简称火星石科技,原牛创新能源)旗下首款车型自游家NV的上市,有关“比亚迪失利,大乘汽车资质被小牛电动创始人李一男‘拿下’”的传言也开始流出。
“火星石科技与大乘汽车不存在买卖或租赁关系,双方是深度合作的伙伴。”火星石科技相关负责人在接受记者采访时强调称。
比亚迪相关工作人员在接受《每日经济新闻》记者电话采访时则仅表示,公司在抚州的确布局有整车生产基地,但对大乘汽车的生产资质过户问题,目前还没有消息可以披露。
上述不愿透露姓名的知情人士告诉记者,随着比亚迪“接盘”,大乘汽车已基本与抚州“脱钩”(即脱离关系),其所拥有的相关资产等资源将最终归比亚迪和当地政府联合所有。
配套零部件厂房陆续投产 整车年产能仅批复5万辆?
2021年年底封顶的比亚迪员工宿舍,目前已经住满了比亚迪的新晋员工。不仅如此,记者从比亚迪抚州新能源汽车产业园内员工胡京(化名)处了解到,除已入住的宿舍楼外,比亚迪又新建了一批宿舍楼,其中有些新盖好的宿舍楼还有一两个月即可入住。

图片来源:每经记者 李星 摄
而在此前首批封顶并入住员工的宿舍楼对面,弗迪动力和弗迪科技工厂也已建设完成。“弗迪科技工厂内已经进入了一半生产设备,还有一半设备正在装机中。”胡京表示,该工厂已在装配调试生产底盘,目前还处于启动生产的前期阶段。
不仅如此,比亚迪旗下动力电池也在其抚州生产基地配套落地。“作为比亚迪汽车的核心技术,比亚迪的刀片电池电芯不会放在抚州生产。”上述不愿透露姓名的知情人士告诉记者,抚州在建的弗迪电池工厂只会是比亚迪电池的一个PACK厂(即对电池进行加工、组装的工厂)。

图片来源:每经记者 李星 摄
胡京也表示,目前,弗迪电池工厂的两条生产线分别为叠片和装配线生产线。“按照计划,弗迪电池装配阶段的生产线总共要开8条。”胡京向记者透露称。
记者查阅江西省投资项目在线审批监管平台发现,比亚迪抚州新能源汽车产业园配套项目总投资约26.77亿元,项目总面积约450亩,新建零部件厂房、仓储库房,以及员工宿舍、饭堂等配套设施,并增加配套设备,计划于2021年开工,2023年竣工。

图片来源:江西省投资项目在线审批监管平台官网
据悉,除了沿用大乘汽车生产基地外,比亚迪的投资扩建项目于2021年9月24日正式开工,占地面积约800亩。
记者了解到,除新建的零部件配套厂房外,比亚迪对原大乘汽车整车制造工厂改造升级工作也已完成,并已有两款车型在此完成下线。
“十一事业部是比亚迪的整车生产制造车间,四大工艺(冲压工艺、焊接工艺、涂装工艺和总装工艺)皆已改造完成,今年5~8月每天可生产400~500辆成品车。”胡京告诉记者,其中5~6月主要生产e2,从7月份开始以生产海豚为主。
从比亚迪当前生产的车型来看,其使用的仍为比亚迪自有资质。“即使后期大乘汽车生产资质正式过户给比亚迪,也是把其生产资质名称更名为比亚迪,不会使用‘大乘汽车’字样的汽车标识。”上述不愿透露姓名的知情人士解释称。
全国乘用车市场信息联席会秘书长崔东树认为,比亚迪“接盘”大乘汽车在抚州的资产,是双赢局面。对比亚迪来说,可低价拿地建厂并可得到当地政府的政策支持,而对地方政府来说,则可以把闲置资源盘活。
不过,一位接近江西抚州相关主管部门的知情人士向记者透露,目前,相关主管部门给比亚迪抚州生产基地批复的整车生产年产能仅有5万辆,而比亚迪的目标年产能是20万辆。
大乘汽车将与抚州完全“脱钩”?
公开资料显示,大乘汽车成立于2014年12月,前身是江苏金坛长荡湖新能源科技有限公司,2018年7月更名为大乘汽车有限公司,2019年4月,变更为现用名“大乘汽车集团有限公司”。
大乘汽车法定代表人为原众泰汽车董事长吴建中之子吴潇,公司注册资本为35亿元,经营范围包括从事新能源汽车技术的研发及应用、实业投资(不得从事金融、类金融业务,依法需取得许可和备案的除外)、汽车整车制造、销售;从事汽车技术的研发、应用及技术转让等。

图片来源:每经记者 李星 摄
位于抚州市的江西大乘汽车有限公司(以下简称江西大乘汽车)则是吴潇接手大乘汽车一年后,参与江西江铃集团轻型汽车有限公司(以下简称江铃轻汽)重组而设立的。
启信宝数据显示,2017年5月,大乘汽车与江铃轻汽签订重组协议,持股比例约为49.47%,成为江铃轻汽最大股东。2018年1月,江铃轻汽正式更名为“江西大乘汽车有限公司”,大乘汽车持股比例也随之上调至67%。大乘汽车也由此获得了江铃轻汽的生产资质。
此外,大乘汽车还接手了众泰汽车原金坛生产基地。至此,大乘汽车拥有了金坛和抚州两大生产基地,并拥有了涵盖乘用车、商用车和新能源汽车的资质。不过,在“国六”排放标准实施后,大乘汽车产品因未能达到相关技术要求开始陷入停工停产危机。而从2020年初开始,大乘汽车还曾被曝出连续数月拖欠员工工资等问题。
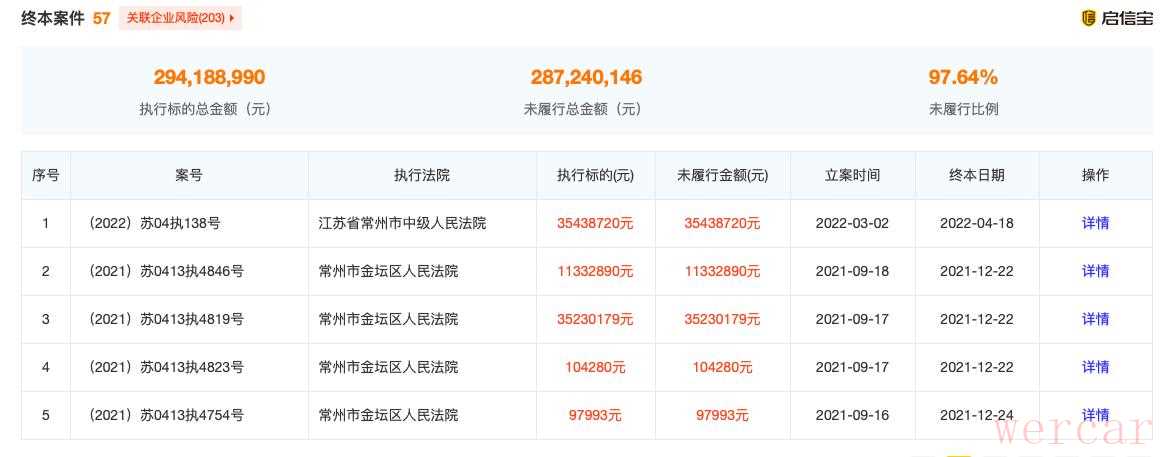
启信宝数据显示,截至今年10月14日,大乘汽车集团有限公司2021年有3条失信被执行人记录,涉及司法案件达400起。其中,终本案件57件,未履行比例97.64%,未履行总金额超2.87亿元,无财产可供执行,这也足以见其背后财务状况。

图片来源:启信宝
有观点认为,随着大乘汽车抚州和金坛两个工厂在今年相继复工复产,整体债务有望化解和消除。不过,上述不愿透露姓名的知情人士告诉记者,大乘汽车位于江西抚州的相关资产和资质已基本完全属于比亚迪。相关过户手续审批通过后,大乘汽车将完全与抚州“脱钩”。
这也意味着,大乘汽车抚州生产基地被当地政府收储并转至比亚迪后,大乘汽车旗下将仅剩金坛生产基地。
“先租后买”计划破灭 火星石科技转向合作模式
“我们正在努力让大乘汽车盘活它,加快其复工复产脚步。”火星石科技相关工作人员在接受记者采访时表示,大乘汽车金坛工厂已经完成了从试制、试装到SOP(量产)的逐步复工复产过程。
目前,大乘汽车位于常州市的金坛生产基地,已成为李一男掌舵下的自游家生产地。“我们在金坛的生产基地拥有18万辆产能,已经开始生产了,首款量产车型——自游家NV将于今年12月陆续开启交付。”北京某自游家汽车线下零售中心工作人员告诉记者。
10月8日,自游家汽车宣布,旗下首款SUV车型——自游家NV正式上市。“截至10月10日晚间19点,自游家NV预定订单已超过两万单。”北京某自游家汽车线下零售中心工作人员告诉记者。

图片来源:每经记者 李星 摄
不过,记者在走访时发现,自游家汽车线下零售中心展示的自游家NV与其1月份发布的自游家NV官图显示的有所不同。线下零售中心展示的自游家NV展车除保留“NIUTRON”外,尾部左侧新增了“大乘汽车”标识字样,而右侧的“自游家NV”标识也仅剩“NV”字样。
“按照规定,车辆尾部左侧需标注车辆生产制造企业的名字,右侧为车型的标识。”火星石科技相关负责人在接受记者采访时解释称,自游家是火星石科技与大乘汽车联合创建的品牌,使用的也是大乘汽车的生产资质。
事实上,国内造车新势力由于缺乏生产资质而选择与传统车企开展合作的事例并不鲜见,如蔚来和江淮、小鹏汽车和海马汽车等采取的代工模式,蔚来和小鹏汽车代工生产的车型尾部皆贴有生产企业的名字。不过,火星石科技表示,其与大乘汽车之间的关系更像“华为与赛力斯”,而不属于“代工”。
火星石科技创始人李一男在自游家NV上市发布会上也公开表示,自游家是火星石与大乘汽车展开深度合作创立的全新品牌。
火星石科技方面认为,其在与大乘汽车的深度合作关系中,更多扮演赋能、技术输出的角色。“大乘汽车负责生产制造,包括试制、生产、验证等,我们则提供车辆外形设计以及核心‘三电’等技术来赋能。”上述火星石科技相关负责人解释称。
值得一提的是,记者从火星石科技内部了解到,此前,火星石科技入驻大乘汽车位于金坛的产业园时,最终目的是通过“先租后买”的方式来最终获得大乘汽车生产基地和资质。不过,该计划因汽车产业政策调整在仅踏出第一步(租资质,即代工)后就被迫停止,转为与大乘汽车达成深度合作关系。
一位接近火星石科技的知情人士告诉记者,新能源汽车“代工”生产政策已发生改变,蔚来与江淮的那种“代工模式”现在已经不适用了。
据悉,今年年初,工信部发布的《关于开展新能源汽车委托生产试点工作的通知》中提出,委托企业的条件是通过新能源汽车生产企业准入,受托企业的条件是通过新能源汽车生产企业准入,且具备与委托生产产品同类生产资质。
也就是说,新政出台后,采取“代工模式”生产的两家企业皆需具备生产资质才能代工生产。而火星石科技与大乘汽车通过建立合作关系来实现车辆生产的方式,则只需要企业双方达成一致意见即可,双方通过合同的方式展现,就不存在“代工”的流程。
另外需要注意的是,江苏省生态环境厅官网显示,江西大乘汽车有限公司金坛分公司于2019年备案了“年产5万辆纯电动乘用车项目”,这或许意味着,生产自游家NV增程式车型仍需跑通相关审批流程,而上述操作都需要时间。
据上述北京某自游家汽车线下零售中心工作人员透露,自游家旗下第二款车型已在研发中,预计在2023年推向市场。
每日经济新闻